Главная > Подшипники> Роликовые > Радиально-упорные>HM624749/10

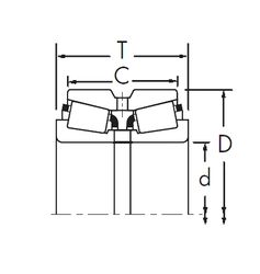
HM624749/10 — Подшипник роликовый радиально-упорный, импортное производство по ISO стандарту, размер 120x190x46 номер основного исполнения .
Производится брендами: CX, ISO.
Цена от:9 761 р.
Цена на подшипник зависит от:
Габаритные размеры
Размеры и геометрические характеристики
Нагрузка и ресурс
Защита
Присоединительные размеры
Конструкция и исполнение