Главная > Подшипники> Роликовые > Радиально-упорные>HM252344/HM252315D

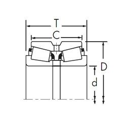
HM252344/HM252315D — Конический роликоподшипник, импортное производство по ISO стандарту, размер 254x431x173 номер основного исполнения .
Производитель: TIMKEN.
D = профиль наружного кольца, усовершенствованный, с увеличенной зоной несущей нагрузки и оптимизированными краевыми переходами.
Цена от:33 838 р.
Цена на подшипник зависит от:
Габаритные размеры
Размеры и геометрические характеристики
Защита
Конструкция и исполнение
Конический роликоподшипник HM252343/HM252315D+HM252343XA (TIMKEN)