Главная > Подшипники> Шариковые> Радиально-упорные>HCB7202-C-2RSD-T-P4S

HCB7202-C-2RSD-T-P4S — Подшипник шпиндельный, импортное производство по ISO стандарту, размер 15x35x11 номер основного исполнения 7202.
Производитель: FAG.
Резиновые уплотнения с каждой стороны подшипника.
Цена по запросу
Цена на подшипник зависит от:
| Обозначение | Модификация |
|---|---|
| 7202 | Основное конструктивное исполнение. |
| 7202W | W = Без кольцевой канавки и смазочных отверстий в наружном кольце. |
| B7202 | |
| 7202DT | T = Механически обработанный сепаратор из текстолита, центрируемый по телам качения. |
| 7202AC | AC = Угол контакта 25 градусов. |
| 7202 B | B = однокомпонентное ребристое внутреннее кольцо. |
| 7202 A | A = внутренняя модификация конструкции. |
| 7202DF | Комплект подшипников расположенных лицом к лицу, дуплексная Х-образная пара. |
| S7202B | B = однокомпонентное ребристое внутреннее кольцо. |
| 7202DB | D = профиль наружного кольца, усовершенствованный, с увеличенной зоной несущей нагрузки и оптимизированными краевыми переходами. |
| 7202 C | С = Необслуживаемые концы стержней, внутренняя резьба. |
| 7202BA | A = внутренняя модификация конструкции. |
| 7202BG | B = 40 градусов угол контакта. G = Однорядный радиально-упорный шарикоподшипник для универсального парного монтажа. Два подшипника, установленные по 0-образной или Х-образной схеме, будут иметь определенный осевой зазор в домонтажном состоянии. |
| NC7202V | V = Увеличенная грузоподъемность, внутренняя модификация конструкции. |
| 7202BEA | A = внутренняя модификация конструкции. |
| 7202CDB | С = Необслуживаемые концы стержней, внутренняя резьба. |
| 7202CDF | Комплект подшипников расположенных лицом к лицу, дуплексная Х-образная пара. |
| 7202CPA | С = Необслуживаемые концы стержней, внутренняя резьба. |
| 7202 BEP | Радиально-упорный шарикоподшипник с угол контакта - 40. Оптимизированная внутренняя конструкция. Сепаратор армирован стекловолокном с шаровым центром. |
| 7202 BDF | B = 40 градусов угол контакта. DF = Два однорядных радиальных шарикоподшипника, однорядных радиально-упорных шарикоподшипника или однорядных конических роликоподшипника, согласованные для монтажа по Х-образной схеме. |
| 7202 BDT | BD = Модифицированная внутренняя конструкция, угол контакта α = 30 градусов, без отверстия для заполнения. |
| 7202 BDB | B = 40 градусов угол контакта. DB = два однорядных радиальных шарикоподшипника, однорядные радиально-упорные шарикоподшипники или однорядные конические роликовые подшипники, подходящие для монтажа в расположении друг за другом. |
| 7202 CDT | С = Необслуживаемые концы стержней, внутренняя резьба. |
| 7202 ADB | A = Модифицированная внутренняя конструкция. DB = два однорядных радиальных шарикоподшипника, однорядные радиально-упорные шарикоподшипники или однорядные конические роликовые подшипники, подходящие для монтажа в расположении друг к другу. |
| 7202 ADT | T = Механически обработанный сепаратор из текстолита, центрируемый по телам качения. |
| 7202 ADF | Комплект подшипников расположенных лицом к лицу, дуплексная Х-образная пара. |
| 7202 C-UD | С = Необслуживаемые концы стержней, внутренняя резьба. |
| 7202 A-UO | A = внутренняя модификация конструкции. |
| 7202 B-UX | X = Внешние размеры, соответствующие международным стандартам. |
| 7202 C-UO | С = Необслуживаемые концы стержней, внутренняя резьба. |
| 7202CTRSU | С = Необслуживаемые концы стержней, внутренняя резьба. |
| 7202B-2RS | Резиновые уплотнения с каждой стороны подшипника. |
| 7202-B-JP | B = однокомпонентное ребристое внутреннее кольцо. |
| 7202 A-UD | A = внутренняя модификация конструкции. |
| 7202 C-UX | С = Необслуживаемые концы стержней, внутренняя резьба. |
| 7202 B-UO | B = однокомпонентное ребристое внутреннее кольцо. |
| 7202 B-UD | D = профиль наружного кольца, усовершенствованный, с увеличенной зоной несущей нагрузки и оптимизированными краевыми переходами. |
| 7202 A-UX | A = внутренняя модификация конструкции. |
| 7202 ATBP4 | ТВ = текстолитовый сепаратор, центрируемый по внутреннему кольцу. |
| 7202A5TRSU | Угол контакта 25 градусов. |
| 7202 BECBP | ЕС = эксцентриковый фиксатор воротника с утопленным внутренним кольцом на одной стороне. |
| 7202 BEGAP | Радиально-упорный шарикоподшипник с углом контакта 40. Оптимизированная внутренняя конструкция. Подшипник для универсального сопряжения. Два подшипника, расположенных вплотную друг к другу или лицом к лицу, имеют небольшой предварительный натяг. Сепаратор армирован стекловолокном. |
| 7202 BEGBP | G = Однорядный радиально-упорный шарикоподшипник для универсального парного монтажа. Два подшипника, установленные по 0-образной или Х-образной схеме, будут иметь определенный осевой зазор в домонтажном состоянии. |
| 7202-B-TVP | TVP = сегментный сепаратор, изготовленный из армированного стекловолокном полиамида PA66 направленная по роликам. |
| 7202 CTBP4 | ТВ = текстолитовый сепаратор, центрируемый по внутреннему кольцу. |
| 3NC 7202 FT | T = Механически обработанный сепаратор из текстолита, центрируемый по телам качения. |
| 7202CG/GNP4 | GN = нормальная предварительная нагрузка. P = Литой сепаратор из стеклонаполненного полиамида 6,6, центрируемый по телам качения. |
| 7202CG1UJ74 | J = Сепаратор стальной штампованный незакалённый. Сорт стали 7. |
| 7202 CD/P4A | CD = 15 градусов угол контакта. P4 = Точность размеров и вращения соответствуют классу точности 4 ISO. |
| 7202-BE-TVP | E = Увеличенная грузоподъемность. TVP = (сегментная сепаратор, код P) = сплошная оконная сепаратор из армированного стекловолокном полиамида PA66. Катание на роликах. |
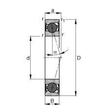
Габаритные размеры
Размеры и геометрические характеристики
Нагрузка и ресурс
Отклонение, точность вращения
Присоединительные размеры
Прочие характеристики
Однорядный цилиндрический роликовый подшипник NJ202 (CYSD, FAG, ISB, ISO, NIS)
Однорядный цилиндрический роликовый подшипник NU202 (CYSD, ISB, ISO, NIS, NKE)
Подшипник шариковый радиальный 6-202
Подшипник шариковый радиальный сферический двухрядный с цилиндрическим отверстием внутреннего кольца 5-1202 (ГПЗ-2)
Подшипник шариковый радиальный двухрядный 4-202
Подшипник шариковый радиальный однорядный 202