Главная > Подшипники> Роликовые > Радиально-упорные>H961649/10

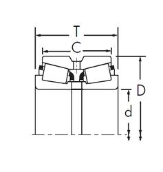
H961649/10 — Подшипник роликовый радиально-упорный, импортное производство по ISO стандарту, размер 317x622x147 номер основного исполнения .
Производится брендами: CX, ISO.
Цена по запросу
Цена на подшипник зависит от:
Габаритные размеры
Размеры и геометрические характеристики
Нагрузка и ресурс
Защита
Присоединительные размеры
Конструкция и исполнение
Однорядный конический роликовый подшипник H961649/H961610 (KOYO, NSK, TIMKEN)
Конический роликоподшипник H961649/H961610G2 (NTN)