Главная > Подшипники> Роликовые > Радиально-упорные>H936340/10

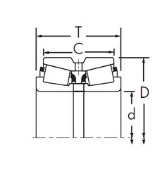
H936340/10 — Подшипник роликовый радиально-упорный, импортное производство по ISO стандарту, размер 155x330x85 номер основного исполнения .
Производится брендами: CX, ISO.
Цена от:226 019 р.
Цена на подшипник зависит от:
Габаритные размеры
Размеры и геометрические характеристики
Нагрузка и ресурс
Защита
Присоединительные размеры
Конструкция и исполнение
Однорядный конический роликовый подшипник H936340/H936310 (KOYO, NSK, TIMKEN)
Конический роликоподшипник T-H936340/H936310 (NTN)