Главная > Подшипники> Роликовые > Радиально-упорные>H917849/10

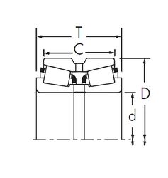
H917849/10 — Подшипник роликовый радиально-упорный, импортное производство по ISO стандарту, размер 82x180x53 номер основного исполнения .
Производится брендами: CX, ISO.
Цена по запросу
Цена на подшипник зависит от:
Габаритные размеры
Размеры и геометрические характеристики
Нагрузка и ресурс
Защита
Присоединительные размеры
Конструкция и исполнение