Главная > Подшипники> Роликовые > Радиально-упорные>H916642/10

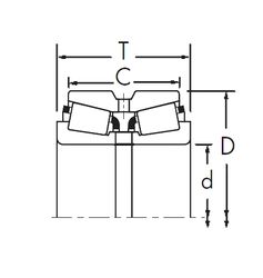
H916642/10 — Подшипник роликовый радиально-упорный, импортное производство по ISO стандарту, размер 69x176x54 номер основного исполнения .
Производится брендами: CX, ISO.
Цена по запросу
Цена на подшипник зависит от:
Габаритные размеры
Размеры и геометрические характеристики
Нагрузка и ресурс
Защита
Присоединительные размеры
Конструкция и исполнение
Конический роликоподшипник 4T-H916642/H916610 (NTN)
Конический роликоподшипник H916642/H916610 (TIMKEN)