Главная > Подшипники> Роликовые > Радиально-упорные>H715343/10

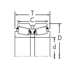
H715343/10 — Подшипник роликовый радиально-упорный, импортное производство по ISO стандарту, размер 68x139x46 номер основного исполнения .
Производится брендами: CX, ISO.
Цена по запросу
Цена на подшипник зависит от:
Габаритные размеры
Размеры и геометрические характеристики
Нагрузка и ресурс
Защита
Присоединительные размеры
Конструкция и исполнение
Конический роликоподшипник H715343/H715310B (TIMKEN)
Однорядный конический роликовый подшипник H715343/H715310 (TIMKEN)