Главная > Подшипники> Роликовые > Радиально-упорные>H247549/10

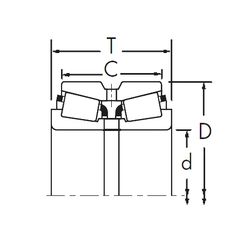
H247549/10 — Подшипник роликовый радиально-упорный, импортное производство по ISO стандарту, размер 234x384x112 номер основного исполнения .
Производится брендами: CX, ISO.
Цена по запросу
Цена на подшипник зависит от:
Габаритные размеры
Размеры и геометрические характеристики
Нагрузка и ресурс
Защита
Присоединительные размеры
Конструкция и исполнение
Однорядный конический роликовый подшипник H247549/H247510 (KOYO, NSK, TIMKEN)
Конический роликоподшипник H247549/H247510A (NTN)
Однорядный конический роликовый подшипник H247548/H247510 (TIMKEN)
Конический роликоподшипник T-H247549/H247510 (NTN)