Главная > Подшипники> Роликовые > Радиально-упорные>H247535/10

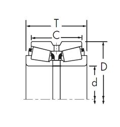
H247535/10 — Подшипник роликовый радиально-упорный, импортное производство по ISO стандарту, размер 200x384x112 номер основного исполнения .
Производится брендами: CX, ISO.
Цена по запросу
Цена на подшипник зависит от:
Габаритные размеры
Размеры и геометрические характеристики
Нагрузка и ресурс
Защита
Присоединительные размеры
Конструкция и исполнение
Однорядный конический роликовый подшипник H247535/H247510 (KOYO, NSK, TIMKEN)
Конический роликоподшипник T-H247535/H247510 (NTN)