Главная > Подшипники> Роликовые > Радиально-упорные>F15190

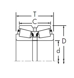
F15190 — Подшипник роликовый радиально-упорный, импортное производство по ISO стандарту, размер 75x140x34 основное исполнение.
Производитель: Fersa.
Цена по запросу
Цена на подшипник зависит от:
Габаритные размеры
Размеры и геометрические характеристики
Защита
Конструкция и исполнение