Главная > Подшипники> Роликовые > Радиально-упорные>F15156

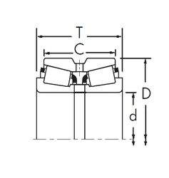
F15156 — Однорядный конический роликовый подшипник, импортное производство по ISO стандарту, размер 80x140x39 основное исполнение.
Производитель: Fersa.
Цена по запросу
Цена на подшипник зависит от:
Габаритные размеры
Размеры и геометрические характеристики
Защита
Конструкция и исполнение