Главная > Подшипники> Роликовые > Радиально-упорные>F15104

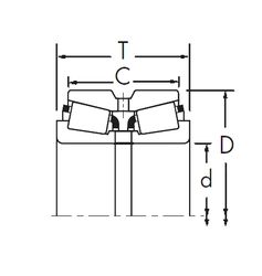
F15104 — Подшипник роликовый радиально-упорный, импортное производство по ISO стандарту, размер 85x150x30 основное исполнение.
Производитель: Fersa.
Цена по запросу
Цена на подшипник зависит от:
Габаритные размеры
Размеры и геометрические характеристики
Защита
Конструкция и исполнение
Однорядный конический роликовый подшипник 30217 (CRAFT, CYSD, FAG, FBJ, ISB)
Подшипник роликовый радиально-упорный конический 7517 (ГПЗ-4)
Подшипник роликовый радиально-упорный конический 7217 А (ГПЗ-11)
Однорядный конический роликовый подшипник 30217 J2 (FAG)