Главная > Подшипники> Роликовые > Радиально-упорные>F15102

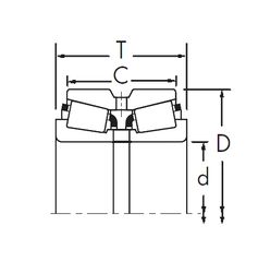
F15102 — Подшипник роликовый радиально-упорный, импортное производство по ISO стандарту, размер 40x72x22 основное исполнение.
Производитель: Fersa.
Цена по запросу
Цена на подшипник зависит от:
Габаритные размеры
Размеры и геометрические характеристики
Защита
Конструкция и исполнение