Главная > Подшипники> Роликовые > Радиально-упорные>F15083

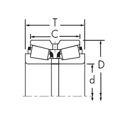
F15083 — Однорядный конический роликовый подшипник, импортное производство по ISO стандарту, размер 65x145x39 основное исполнение.
Производитель: Fersa.
Цена по запросу
Цена на подшипник зависит от:
Габаритные размеры
Размеры и геометрические характеристики
Защита
Конструкция и исполнение