Главная > Подшипники> Роликовые > Радиально-упорные>F15051R

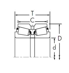
F15051R — Подшипник роликовый радиально-упорный, импортное производство по ISO стандарту, размер 70x130x57 номер основного исполнения .
Производитель: Fersa.
R = Наружное кольцо с фланцем .
Цена по запросу
Цена на подшипник зависит от:
Габаритные размеры
Размеры и геометрические характеристики
Защита
Конструкция и исполнение
Однорядный конический роликовый подшипник 331933/Q (SKF)
Однорядный конический роликовый подшипник 332330B/Q (SKF)
Однорядный конический роликовый подшипник 528983 B (FAG)
Однорядный конический роликовый подшипник 534565 (FAG)
Подшипник роликовый радиально-упорный F15051C (Fersa)
Конический роликоподшипник P534565 (PFI)