Главная > Подшипники> Роликовые > Радиально-упорные>F15040

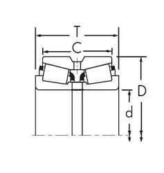
F15040 — Однорядный конический роликовый подшипник, импортное производство по ISO стандарту, размер 35x60x13 основное исполнение.
Производитель: Fersa.
Цена по запросу
Цена на подшипник зависит от:
Габаритные размеры
Размеры и геометрические характеристики
Защита
Конструкция и исполнение