Главная > Подшипники> Роликовые > Радиально-упорные>F-805728.TR1

F-805728.TR1 — Конический роликоподшипник, импортное производство по ISO стандарту, размер 30x68x16 номер основного исполнения 805728.
Производитель: FAG.
T = Механически обработанный сепаратор из текстолита, центрируемый по телам качения.
Цена по запросу
Цена на подшипник зависит от:
| Обозначение | Модификация |
|---|---|
| 805728 | Основное конструктивное исполнение. |
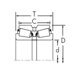
Габаритные размеры
Размеры и геометрические характеристики
Защита
Конструкция и исполнение
Радиальный шарикоподшипник B30-141NC3 (NSK)
Конический роликоподшипник 712153010 (INA)