Главная > Подшипники> Роликовые > Радиально-упорные>ET-CR09A23ST/CR09A14ST

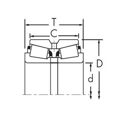
ET-CR09A23ST/CR09A14ST — Конический роликоподшипник, импортное производство по ISO стандарту, размер 45x81x15 номер основного исполнения .
Производитель: NTN.
A1 = Конический роликовый подшипник однорядный
Цена по запросу
Цена на подшипник зависит от:
Габаритные размеры
Размеры и геометрические характеристики
Защита
Конструкция и исполнение