Главная > Подшипники> Роликовые > Радиально-упорные>ET-CR-1555

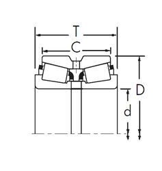
ET-CR-1555 — Конический роликоподшипник, импортное производство по ISO стандарту, размер 75x140x54 номер основного исполнения .
Производитель: NTN.
R = Наружное кольцо с фланцем .
Цена по запросу
Цена на подшипник зависит от:
Габаритные размеры
Размеры и геометрические характеристики
Защита
Конструкция и исполнение