Главная > Подшипники> Роликовые > Радиально-упорные>ET-CR-0834ST

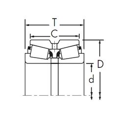
ET-CR-0834ST — Однорядный конический роликовый подшипник, импортное производство по ISO стандарту, размер 42x70x19 номер основного исполнения .
Производитель: NTN.
T = Механически обработанный сепаратор из текстолита, центрируемый по телам качения.
Цена по запросу
Цена на подшипник зависит от:
Габаритные размеры
Размеры и геометрические характеристики
Защита
Конструкция и исполнение