Главная > Подшипники> Роликовые > Радиально-упорные>EE755285/755367CD+X1S-755285

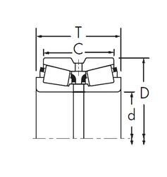
EE755285/755367CD+X1S-755285 — Конический роликоподшипник, импортное производство по ISO стандарту, размер 723x1003x187 номер основного исполнения .
Производитель: TIMKEN.
D = профиль наружного кольца, усовершенствованный, с увеличенной зоной несущей нагрузки и оптимизированными краевыми переходами.
Цена по запросу
Цена на подшипник зависит от:
Габаритные размеры
Размеры и геометрические характеристики
Защита
Конструкция и исполнение