Главная > Подшипники> Роликовые > Радиально-упорные>CR1364

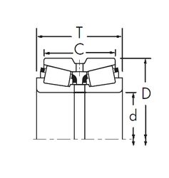
CR1364 — Однорядный конический роликовый подшипник, импортное производство по ISO стандарту, размер 65x130x57 основное исполнение.
Производитель: NTN.
Цена по запросу
Цена на подшипник зависит от:
Габаритные размеры
Размеры и геометрические характеристики
Защита
Конструкция и исполнение