Главная > Подшипники> Шариковые> Радиально-упорные>B7224-C-T-P4S

B7224-C-T-P4S — Подшипник шариковый однорядный радиально-упорный, импортное производство по ISO стандарту, размер 120x215x40 номер основного исполнения 7224.
Производитель: FAG.
T = Нейлоновая клетка, армированная стекловолокном (радиальные роликовые подшипники). P = Литой сепаратор из стеклонаполненного полиамида 6,6, центрируемый по телам качения.
Цена от:19 698 р.
Цена на подшипник зависит от:
| Обозначение | Модификация |
|---|---|
| 7224 | Основное конструктивное исполнение. |
| 7224C | С = Необслуживаемые концы стержней, внутренняя резьба. |
| 7224AC | AC = Угол контакта 25 градусов. |
| 7224 B | B = однокомпонентное ребристое внутреннее кольцо. |
| 7224 A | A = внутренняя модификация конструкции. |
| 7224DB | D = профиль наружного кольца, усовершенствованный, с увеличенной зоной несущей нагрузки и оптимизированными краевыми переходами. |
| 7224BG | B = 40 градусов угол контакта. G = Однорядный радиально-упорный шарикоподшипник для универсального парного монтажа. Два подшипника, установленные по 0-образной или Х-образной схеме, будут иметь определенный осевой зазор в домонтажном состоянии. |
| 7224BM | B = 40 градусов угол контакта. M = обработанный латунный сепаратор, расположенныйна элементах качения. |
| 7224DF | Комплект подшипников расположенных лицом к лицу, дуплексная Х-образная пара. |
| 7224DT | T = Механически обработанный сепаратор из текстолита, центрируемый по телам качения. |
| 7224CP4 | P4 = Точность размеров и вращения соответствуют классу точности 4 ISO. |
| 7224CPA | С = Необслуживаемые концы стержней, внутренняя резьба. |
| 7224BGM | B = 40 градусов угол контакта. G = Однорядный радиально-упорный шарикоподшипник для универсального парного монтажа. Два подшипника, установленные по 0-образной или Х-образной схеме, будут иметь определенный осевой зазор в домонтажном состоянии. |
| 7224BDF | B = 40 градусов угол контакта. DF = Два однорядных радиальных шарикоподшипника, однорядных радиально-упорных шарикоподшипника или однорядных конических роликоподшипника, согласованные для монтажа по Х-образной схеме. |
| 7224BDT | BD = Модифицированная внутренняя конструкция, угол контакта α = 30 градусов, без отверстия для заполнения. |
| 7224BP5 | P5 = Подшипники 5-го класса точности DIN |
| 7224CDB | С = Необслуживаемые концы стержней, внутренняя резьба. |
| 7224CDF | Комплект подшипников расположенных лицом к лицу, дуплексная Х-образная пара. |
| 7224BDB | B = 40 градусов угол контакта. DB = два однорядных радиальных шарикоподшипника, однорядные радиально-упорные шарикоподшипники или однорядные конические роликовые подшипники, подходящие для монтажа в расположении друг за другом. |
| 7224CP5 | P5 = Подшипники 5-го класса точности DIN |
| 7224 BMP | B = 40 градусов угол контакта. M = обработанный латунный сепаратор, расположенныйна элементах качения. |
| 7224 CDT | С = Необслуживаемые концы стержней, внутренняя резьба. |
| 7224 ADF | Комплект подшипников расположенных лицом к лицу, дуплексная Х-образная пара. |
| 7224 ADT | T = Механически обработанный сепаратор из текстолита, центрируемый по телам качения. |
| 7224 ADB | A = Модифицированная внутренняя конструкция. DB = два однорядных радиальных шарикоподшипника, однорядные радиально-упорные шарикоподшипники или однорядные конические роликовые подшипники, подходящие для монтажа в расположении друг к другу. |
| 7224 B-UX | X = Внешние размеры, соответствующие международным стандартам. |
| 7224 BCBM | B = 40 градусов угол контакта. CB = подшипник для универсального соответствия. Два подшипника, расположенные друг за другом или лицом к лицу, будут иметь нормальный осевой внутренний зазор перед монтажом. |
| 7224 A-UX | A = внутренняя модификация конструкции. |
| 7224 A-UO | A = внутренняя модификация конструкции. |
| 7224 C-UD | С = Необслуживаемые концы стержней, внутренняя резьба. |
| 7224 A-UD | A = внутренняя модификация конструкции. |
| 7224 C-UX | С = Необслуживаемые концы стержней, внутренняя резьба. |
| 7224 B-UO | B = однокомпонентное ребристое внутреннее кольцо. |
| 7224 B-UD | D = профиль наружного кольца, усовершенствованный, с увеличенной зоной несущей нагрузки и оптимизированными краевыми переходами. |
| 7224 C-UO | С = Необслуживаемые концы стержней, внутренняя резьба. |
| 7224 BGAM | B = 40 градусов угол контакта. G = Однорядный радиально-упорный шарикоподшипник для универсального парного монтажа. Два подшипника, установленные по 0-образной или Х-образной схеме, будут иметь определенный осевой зазор в домонтажном состоянии. |
| 7224CDTBT | ТВ = текстолитовый сепаратор, центрируемый по внутреннему кольцу. |
| 7224CTRSU | С = Необслуживаемые концы стержней, внутренняя резьба. |
| 7224WN MBR | MB = Обработанный латунный сепаратор с внутренним кольцом. |
| 7224A5TRSU | Угол контакта 25 градусов. |
| 7224 B.TVP | TVP = сегментный сепаратор, изготовленный из армированного стекловолокном полиамида PA66 направленная по роликам. |
| 7224 CTBP4 | ТВ = текстолитовый сепаратор, центрируемый по внутреннему кольцу. |
| 7224 ATBP4 | ТВ = текстолитовый сепаратор, центрируемый по внутреннему кольцу. |
| 7224CG1UJ74 | J = Сепаратор стальной штампованный незакалённый. Сорт стали 7. |
| 7224-BCB-MP | B = 40 градусов угол контакта. CB = подшипник для универсального соответствия. Два подшипника, расположенные друг за другом или лицом к лицу, будут иметь нормальный осевой внутренний зазор перед монтажом. |
| 7224 CD/P4A | CD = 15 градусов угол контакта. P4 = Точность размеров и вращения соответствуют классу точности 4 ISO. |
| 7224HG1UJ74 | J = Сепаратор стальной штампованный незакалённый. Сорт стали 7. |
| 7224CDB/GNP4 | GN = нормальная предварительная нагрузка. P = Литой сепаратор из стеклонаполненного полиамида 6,6, центрируемый по телам качения. |
| 7224CG1DUJ74 | DU = (RS1-SKF) = Уплотнительное контактное уплотнение из акрилонитрил-бутадиеновой резины (NBR) из листовой стали на одной стороне подшипника. |
| 7224 B.MP.UA | B = 40 градусов угол контакта. MP = Цельный латунный сепаратор оконного типа с штампованными или протянутыми карманами, центрируемый по внутреннему или наружному кольцу. U = Самоустанавливающиеся шарикоподшипники серий 115 и 116 без втулки. A = Модифицированная внутренняя конструкция. |
| Техника | Модель | Агрегат |
|---|---|---|
| Буровой насос | ПТ | Вал трансмиссионный |
| Трактор | Т-150К | Редуктор колесный/ступица |
| Трактор | Т-150 | Редуктор планетарный/картер |
| Трактор | Т-150К | Ступица редуктора колесного |
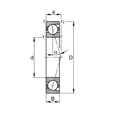
Габаритные размеры
Размеры и геометрические характеристики
Нагрузка и ресурс
Отклонение, точность вращения
Присоединительные размеры
Прочие характеристики
Однорядный цилиндрический роликовый подшипник NJ224 (CRAFT, FAG, ISB, ISO, KOYO)
Однорядный цилиндрический роликовый подшипник NU224 (CRAFT, FAG, ISB, ISO, KOYO)
Подшипник шариковый радиальный 6-224 (ГПЗ-3)
Подшипник роликовый радиально-упорный 32224
Подшипник роликовый радиальный самоцентрирующийся 20224 (FAG, ISO)
Подшипник шариковый радиальный 8224 (ГПЗ-3)