Главная > Подшипники> Шариковые> Радиально-упорные>B71938-C-T-P4S

B71938-C-T-P4S — Подшипник шпиндельный, импортное производство по ISO стандарту, размер 190x260x33 номер основного исполнения .
Производитель: FAG.
T = Нейлоновая клетка, армированная стекловолокном (радиальные роликовые подшипники). P = Литой сепаратор из стеклонаполненного полиамида 6,6, центрируемый по телам качения.
Цена от:148 049 р.
Цена на подшипник зависит от:
Габаритные размеры
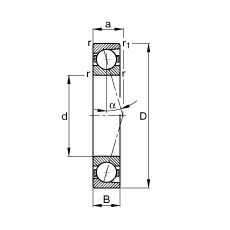
Размеры и геометрические характеристики
Нагрузка и ресурс
Отклонение, точность вращения
Присоединительные размеры
Прочие характеристики
Подшипник шариковый радиальный однорядный 1000938
Подшипник шариковый радиальный 1000938 АЛ (ГПЗ-23)
Подшипник шариковый радиальный 5-1000938 Л (ГПЗ-23)
Подшипник роликовый радиальный с короткими цилиндрическими роликами без бортов на наружном кольце 1002938
Подшипник роликовый радиальный с короткими цилиндрическими роликами без бортов на внутреннем кольце 1032938
Подшипник роликовый радиальный с короткими цилиндрическими роликами без бортов на внутреннем кольце 56-1032938 Р1У (ГПЗ-4)