Главная > Подшипники> Роликовые > Радиально-упорные>A4059/A4138D+X6SA4059

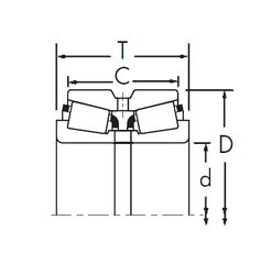
A4059/A4138D+X6SA4059 — Конический роликоподшипник, импортное производство по ISO стандарту, размер 14x34x25 номер основного исполнения .
Производитель: TIMKEN.
D = профиль наружного кольца, усовершенствованный, с увеличенной зоной несущей нагрузки и оптимизированными краевыми переходами.
Цена от:701 р.
Цена на подшипник зависит от:
Габаритные размеры
Размеры и геометрические характеристики
Защита
Конструкция и исполнение