Главная > Подшипники> Шариковые> Радиально-упорные>95BER20XV1V

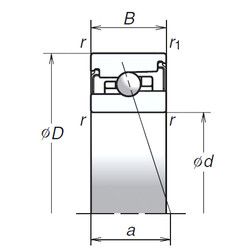
95BER20XV1V — Радиально-упорный шарикоподшипник, импортное производство по ISO стандарту, размер 95x145x30 номер основного исполнения .
Производитель: NSK.
V = Увеличенная грузоподъемность, внутренняя модификация конструкции.
Цена по запросу
Цена на подшипник зависит от:
Габаритные размеры
Размеры и геометрические характеристики
Нагрузка и ресурс
Защита
Присоединительные размеры
Конструкция и исполнение
Подшипник шариковый упорно-радиальный двухрядный 178819
Подшипник роликовый радиальный с короткими роликами 5-2672119 Р1 (ГПЗ-4)
Подшипник роликовый радиальный 55-2672119 Р2 (ГПЗ-4)
Подшипник шариковый упорно-радиальный 234419 (ISB, ISO)
Осевой радиально-упорный шарикоподшипник 562019 (NTN)
Радиально-упорный шарикоподшипник 95BNR20XV1V (NSK)