Главная > Подшипники> Шариковые> Радиально-упорные>90BNR20XV1V

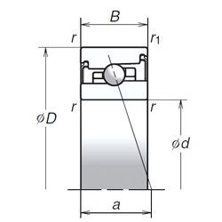
90BNR20XV1V — Радиально-упорный шарикоподшипник, импортное производство по ISO стандарту, размер 90x140x30 номер основного исполнения .
Производитель: NSK.
Стопорное кольцо и проточка под него в наружном кольце подшипника.
Цена по запросу
Цена на подшипник зависит от:
Габаритные размеры
Размеры и геометрические характеристики
Нагрузка и ресурс
Защита
Присоединительные размеры
Конструкция и исполнение
Подшипник шариковый упорно-радиальный 234418 (FAG, ISB, ISO)
Подшипник шариковый радиальный 35-2310118 Е3С1 (ГПЗ-4)
Подшипник роликовый радиально-упорный 97818Л (EPK)
Подшипник шариковый упорно-радиальный двухрядный 178818
Осевой радиально-упорный шарикоподшипник 562018 (NTN)
Радиально-упорный шарикоподшипник 90BER20SV1V (NSK)