Главная > Подшипники> Шариковые> Радиально-упорные>85BNR20HV1V

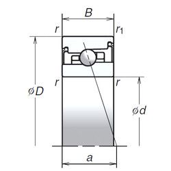
85BNR20HV1V — Радиально-упорный шарикоподшипник, импортное производство по ISO стандарту, размер 85x130x27 номер основного исполнения .
Производитель: NSK.
Стопорное кольцо и проточка под него в наружном кольце подшипника.
Цена по запросу
Цена на подшипник зависит от:
Габаритные размеры
Размеры и геометрические характеристики
Нагрузка и ресурс
Защита
Присоединительные размеры
Конструкция и исполнение
Подшипник шариковый упорно-радиальный 178817Л2 (EPK)
Подшипник шариковый упорно-радиальный двухрядный 178817
Осевой радиально-упорный шарикоподшипник 562017 (NTN)
Радиально-упорный шарикоподшипник 85BER20SV1V (NSK)
Радиально-упорный шарикоподшипник 85BER20XV1V (NSK)
Радиально-упорный шарикоподшипник 85BER20HV1V (NSK)