Главная > Подшипники> Шариковые> Радиально-упорные>80BNR20SV1V

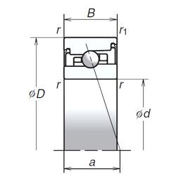
80BNR20SV1V — Радиально-упорный шарикоподшипник, импортное производство по ISO стандарту, размер 80x125x27 номер основного исполнения .
Производитель: NSK.
Стопорное кольцо и проточка под него в наружном кольце подшипника.
Цена по запросу
Цена на подшипник зависит от:
Габаритные размеры
Размеры и геометрические характеристики
Нагрузка и ресурс
Защита
Присоединительные размеры
Конструкция и исполнение
Подшипник шариковый упорно-радиальный 178816Л2 (EPK)
Подшипник шариковый упорно-радиальный двухрядный 178816
Подшипник шариковый упорно-радиальный 234416 (ISB, ISO)
Осевой радиально-упорный шарикоподшипник 562016 (NTN)
Радиально-упорный шарикоподшипник 80BER20HV1V (NSK)
Радиально-упорный шарикоподшипник 80BNR20HV1V (NSK)