Главная > Подшипники> Роликовые > Радиально-упорные>795/792CD+X4S-795

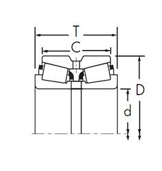
795/792CD+X4S-795 — Конический роликоподшипник, импортное производство по ISO стандарту, размер 120x206x107 номер основного исполнения .
Производитель: TIMKEN.
D = профиль наружного кольца, усовершенствованный, с увеличенной зоной несущей нагрузки и оптимизированными краевыми переходами.
Цена по запросу
Цена на подшипник зависит от:
Габаритные размеры
Размеры и геометрические характеристики
Защита
Конструкция и исполнение
Конический роликоподшипник 4T-795/792D+A (NTN)
Конический роликоподшипник 4T-795/792D (NTN)