Главная > Подшипники> Роликовые > Радиально-упорные>782/773D+X3S-782

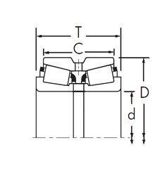
782/773D+X3S-782 — Конический роликоподшипник, импортное производство по ISO стандарту, размер 104x180x104 номер основного исполнения .
Производитель: TIMKEN.
D = профиль наружного кольца, усовершенствованный, с увеличенной зоной несущей нагрузки и оптимизированными краевыми переходами.
Цена от:8 025 р.
Цена на подшипник зависит от:
Габаритные размеры
Размеры и геометрические характеристики
Защита
Конструкция и исполнение
Конический роликоподшипник 782/774D+X3S-782 (TIMKEN)
Конический роликоподшипник 782/774DC+X3S-782 (TIMKEN)
Конический роликоподшипник 786/774DC+X3S-782 (TIMKEN)
Конический роликоподшипник 787/773D+X3S-782 (TIMKEN)
Конический роликоподшипник 786/773D+X1S-786 (TIMKEN)