Главная > Подшипники> Роликовые > Радиально-упорные>780/773DC+X1S-780

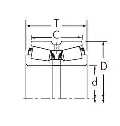
780/773DC+X1S-780 — Конический роликоподшипник, импортное производство по ISO стандарту, размер 101x180x104 номер основного исполнения .
Производитель: TIMKEN.
D = профиль наружного кольца, усовершенствованный, с увеличенной зоной несущей нагрузки и оптимизированными краевыми переходами.
Цена по запросу
Цена на подшипник зависит от:
Габаритные размеры
Размеры и геометрические характеристики
Защита
Конструкция и исполнение
Конический роликоподшипник 780/773D+X2S-780 (TIMKEN)
Конический роликоподшипник 780/774D+X1S-780 (TIMKEN)