Главная > Подшипники> Шариковые> Радиально-упорные>75BNR20HV1V

75BNR20HV1V — Радиально-упорный шарикоподшипник, импортное производство по ISO стандарту, размер 75x115x24 номер основного исполнения .
Производитель: NSK.
Стопорное кольцо и проточка под него в наружном кольце подшипника.
Цена по запросу
Цена на подшипник зависит от:
Габаритные размеры
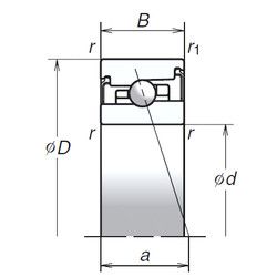
Размеры и геометрические характеристики
Нагрузка и ресурс
Защита
Присоединительные размеры
Конструкция и исполнение
Подшипник роликовый радиально-упорный 2097115
Подшипник шариковый упорно-радиальный двухрядный 178815
Подшипник шариковый упорно-радиальный 178815Л2 (EPK)
Осевой радиально-упорный шарикоподшипник 562015 (NTN)
Радиально-упорный шарикоподшипник 75BNR20XV1V (NSK)
Радиально-упорный шарикоподшипник 75BER20SV1V (NSK)