Главная > Подшипники> Роликовые > Радиально-упорные>758/752D+X2S-758

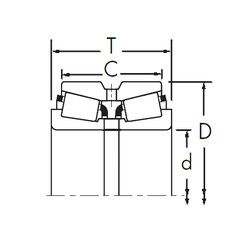
758/752D+X2S-758 — Конический роликоподшипник, импортное производство по ISO стандарту, размер 85x161x104 номер основного исполнения .
Производитель: TIMKEN.
D = профиль наружного кольца, усовершенствованный, с увеличенной зоной несущей нагрузки и оптимизированными краевыми переходами.
Цена от:2 854 р.
Цена на подшипник зависит от:
Габаритные размеры
Размеры и геометрические характеристики
Защита
Конструкция и исполнение