Главная > Подшипники> Роликовые > Радиально-упорные>748-S/742DC+X2S-748-S

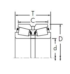
748-S/742DC+X2S-748-S — Конический роликоподшипник, импортное производство по ISO стандарту, размер 76x155x101 номер основного исполнения .
Производитель: TIMKEN.
D = профиль наружного кольца, усовершенствованный, с увеличенной зоной несущей нагрузки и оптимизированными краевыми переходами.
Цена по запросу
Цена на подшипник зависит от:
Габаритные размеры
Размеры и геометрические характеристики
Защита
Конструкция и исполнение