Главная > Подшипники> Роликовые > Радиально-упорные>687/672D+X3S-687

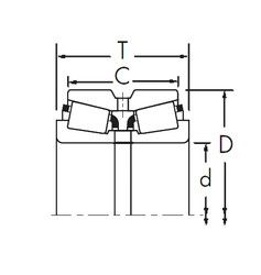
687/672D+X3S-687 — Конический роликоподшипник, импортное производство по ISO стандарту, размер 101x168x92 номер основного исполнения .
Производитель: TIMKEN.
D = профиль наружного кольца, усовершенствованный, с увеличенной зоной несущей нагрузки и оптимизированными краевыми переходами.
Цена от:104 р.
Цена на подшипник зависит от:
Габаритные размеры
Размеры и геометрические характеристики
Защита
Конструкция и исполнение
Конический роликоподшипник 4T-687/672D+A (NTN)
Конический роликоподшипник 687/672DC+X1S-687 (TIMKEN)
Конический роликоподшипник NA691/672D (NTN)