Главная > Подшипники> Шариковые> Радиально-упорные>65BER20XV1V

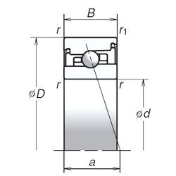
65BER20XV1V — Радиально-упорный шарикоподшипник, импортное производство по ISO стандарту, размер 65x100x22 номер основного исполнения .
Производитель: NSK.
V = Увеличенная грузоподъемность, внутренняя модификация конструкции.
Цена по запросу
Цена на подшипник зависит от:
Габаритные размеры
Размеры и геометрические характеристики
Нагрузка и ресурс
Защита
Присоединительные размеры
Конструкция и исполнение
Подшипник для корпуса GE65 KPPB-3 (INA)
Подшипник шариковый упорно-радиальный 178813Л2 (EPK)
Подшипник шариковый упорно-радиальный двухрядный 178813
Осевой радиально-упорный шарикоподшипник 562013 (NTN)
Радиально-упорный шарикоподшипник 65BER20SV1V (NSK)
Радиально-упорный шарикоподшипник 65BNR20SV1V (NSK)