Главная > Подшипники> Шариковые> Радиально-упорные>60BER20SV1V

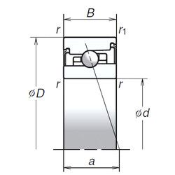
60BER20SV1V — Радиально-упорный шарикоподшипник, импортное производство по ISO стандарту, размер 60x95x22 номер основного исполнения .
Производитель: NSK.
V = Увеличенная грузоподъемность, внутренняя модификация конструкции.
Цена по запросу
Цена на подшипник зависит от:
Габаритные размеры
Размеры и геометрические характеристики
Нагрузка и ресурс
Защита
Присоединительные размеры
Конструкция и исполнение
Подшипник роликовый радиально-упорный 67912 Л
Подшипник шариковый упорно-радиальный двухрядный 178812
Подшипник шариковый упорно-радиальный 178812Л2 (EPK)
Подшипник шариковый упорно-радиальный двухрядный 2-178812 Л2 (ГПЗ-3)
Подшипник шариковый упорно-радиальный двухрядный 4-178812 Л2 (ГПЗ-3)
Осевой радиально-упорный шарикоподшипник 562012 (NTN)