Главная > Подшипники> Роликовые > Радиально-упорные>567-S/563D+X1S-567A

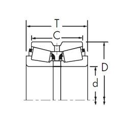
567-S/563D+X1S-567A — Конический роликоподшипник, импортное производство по ISO стандарту, размер 71x127x80 номер основного исполнения .
Производитель: TIMKEN.
D = профиль наружного кольца, усовершенствованный, с увеличенной зоной несущей нагрузки и оптимизированными краевыми переходами.
Цена от:1 217 р.
Цена на подшипник зависит от:
Габаритные размеры
Размеры и геометрические характеристики
Защита
Конструкция и исполнение