Главная > Подшипники> Шариковые> Радиально-упорные>55BER20SV1V

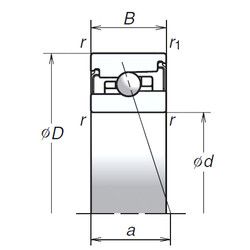
55BER20SV1V — Радиально-упорный шарикоподшипник, импортное производство по ISO стандарту, размер 55x90x22 номер основного исполнения .
Производитель: NSK.
V = Увеличенная грузоподъемность, внутренняя модификация конструкции.
Цена по запросу
Цена на подшипник зависит от:
Габаритные размеры
Размеры и геометрические характеристики
Нагрузка и ресурс
Защита
Присоединительные размеры
Конструкция и исполнение
Подшипник шариковый радиально-упорный 986811 К2С9 (ГПЗ-20)
Подшипник шариковый упорно-радиальный двухрядный 178811
Подшипник шариковый упорно-радиальный 178811Л2 (EPK)
Подшипник шариковый упорно-радиальный двухрядный 4-178811 Л (ГПЗ-3)
Осевой радиально-упорный шарикоподшипник 562011 (NTN)
Радиально-упорный шарикоподшипник 55BER20HV1V (NSK)