Главная > Подшипники> Роликовые > Радиально-упорные>555-S/552D+X1S-555-S

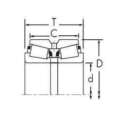
555-S/552D+X1S-555-S — Конический роликоподшипник, импортное производство по ISO стандарту, размер 57x123x79 номер основного исполнения .
Производитель: TIMKEN.
D = профиль наружного кольца, усовершенствованный, с увеличенной зоной несущей нагрузки и оптимизированными краевыми переходами.
Цена от:1 364 р.
Цена на подшипник зависит от:
Габаритные размеры
Размеры и геометрические характеристики
Защита
Конструкция и исполнение