Главная > Подшипники> Шариковые> Радиально-упорные>50BER20HV1V

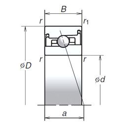
50BER20HV1V — Радиально-упорный шарикоподшипник, импортное производство по ISO стандарту, размер 50x80x19 номер основного исполнения .
Производитель: NSK.
H = высокая, узкая каретка для двухрядного шарикоподшипника и направляющей в сборе.
Цена по запросу
Цена на подшипник зависит от:
Габаритные размеры
Размеры и геометрические характеристики
Нагрузка и ресурс
Защита
Присоединительные размеры
Конструкция и исполнение
Подшипник роликовый радиально-упорный конический однорядный повышенной грузоподъемности 3007110А
Подшипник роликовый радиально-упорный конический однорядный повышенной грузоподъемности с упорным бортом на наружном кольце 3067110А
Подшипник шариковый упорно-радиальный 178810Л2 (EPK)
Подшипник шариковый упорно-радиальный двухрядный 178810
Подшипник шариковый упорно-радиальный двухрядный 2-178810 Л2 (ГПЗ-3)
Осевой радиально-упорный шарикоподшипник 562010 (NTN)