Главная > Подшипники> Роликовые > Радиально-упорные>495/493D+X3S-495

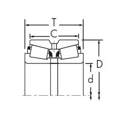
495/493D+X3S-495 — Конический роликоподшипник, импортное производство по ISO стандарту, размер 82x136x69 номер основного исполнения .
Производитель: TIMKEN.
D = профиль наружного кольца, усовершенствованный, с увеличенной зоной несущей нагрузки и оптимизированными краевыми переходами.
Цена от:4 309 р.
Цена на подшипник зависит от:
Габаритные размеры
Размеры и геометрические характеристики
Защита
Конструкция и исполнение
Конический роликоподшипник 495/493DC+X1S-495 (TIMKEN)
Конический роликоподшипник 4T-495/493D+A (NTN)