Главная > Подшипники> Роликовые > Радиально-упорные>469/452D+X2S-469

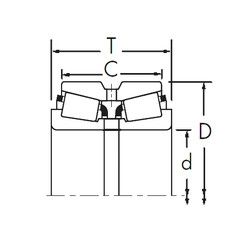
469/452D+X2S-469 — Конический роликоподшипник, импортное производство по ISO стандарту, размер 57x107x65 номер основного исполнения .
Производитель: TIMKEN.
D = профиль наружного кольца, усовершенствованный, с увеличенной зоной несущей нагрузки и оптимизированными краевыми переходами.
Цена от:903 р.
Цена на подшипник зависит от:
Габаритные размеры
Размеры и геометрические характеристики
Защита
Конструкция и исполнение
Конический роликоподшипник 462/452DC+X2S-462 (TIMKEN)
Конический роликоподшипник 462/452D+X2S-469 (TIMKEN)