Главная > Подшипники> Шариковые> Радиально-упорные>45BER20XV1V

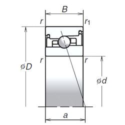
45BER20XV1V — Радиально-упорный шарикоподшипник, импортное производство по ISO стандарту, размер 45x75x19 номер основного исполнения .
Производитель: NSK.
V = Увеличенная грузоподъемность, внутренняя модификация конструкции.
Цена по запросу
Цена на подшипник зависит от:
Габаритные размеры
Размеры и геометрические характеристики
Нагрузка и ресурс
Защита
Присоединительные размеры
Конструкция и исполнение
Подшипник шариковый радиальный 2180109AC17
Подшипник шариковый радиальный 2180109 С17 (ГПЗ-2)
Подшипник роликовый радиально-упорный конический однорядный повышенной грузоподъемности с упорным бортом на наружном кольце 3067109А
Подшипник роликовый радиально-упорный конический однорядный повышенной грузоподъемности 3007109А
Подшипник шариковый радиальный 6-2180109 С17 (ГПЗ-2)
Подшипник шариковый упорно-радиальный двухрядный 178809