Главная > Подшипники> Шариковые> Радиально-упорные>40BER20XV1V

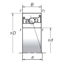
40BER20XV1V — Радиально-упорный шарикоподшипник, импортное производство по ISO стандарту, размер 40x68x18 номер основного исполнения .
Производитель: NSK.
V = Увеличенная грузоподъемность, внутренняя модификация конструкции.
Цена по запросу
Цена на подшипник зависит от:
Габаритные размеры
Размеры и геометрические характеристики
Нагрузка и ресурс
Защита
Присоединительные размеры
Конструкция и исполнение
Подшипник роликовый радиально-упорный конический однорядный повышенной грузоподъемности 3007108А
Подшипник шариковый упорно-радиальный двухрядный 178808
Осевой радиально-упорный шарикоподшипник 562008 (NTN)
Радиально-упорный шарикоподшипник 40BNR20SV1V (NSK)
Радиально-упорный шарикоподшипник 40BER20SV1V (NSK)
Радиально-упорный шарикоподшипник 40BNR20HV1V (NSK)