Главная > Подшипники> Роликовые > Радиально-упорные>3767/3729D+X1S-3767

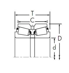
3767/3729D+X1S-3767 — Конический роликоподшипник, импортное производство по ISO стандарту, размер 52x93x65 номер основного исполнения .
Производитель: TIMKEN.
S3 = Кольца подшипника стабилизированы для рабочих температур до + 300 С
Цена от:763 р.
Цена на подшипник зависит от:
Габаритные размеры
Размеры и геометрические характеристики
Защита
Конструкция и исполнение