Главная > Подшипники> Шариковые> Радиально-упорные>35BNR20SV1V

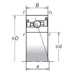
35BNR20SV1V — Радиально-упорный шарикоподшипник, импортное производство по ISO стандарту, размер 35x62x17 номер основного исполнения .
Производитель: NSK.
Стопорное кольцо и проточка под него в наружном кольце подшипника.
Цена по запросу
Цена на подшипник зависит от:
Габаритные размеры
Размеры и геометрические характеристики
Нагрузка и ресурс
Защита
Присоединительные размеры
Конструкция и исполнение
Подшипник роликовый радиальный с короткими цилиндрическими роликами без внутреннего кольца 292305Н
Подшипник роликовый радиальный с короткими цилиндрическими роликами без внутреннего кольца 6-292305 АЕ
Подшипник роликовый радиально-упорный 2007807AK (EPK)
Подшипник роликовый радиально-упорный 2007807A (EPK)
Подшипник роликовый радиально-упорный конический однорядный повышенной грузоподъемности 3007107А
Осевой радиально-упорный шарикоподшипник 562007 (NTN)