Главная > Подшипники> Роликовые > Радиально-упорные>3490/3423D+X1S-3490

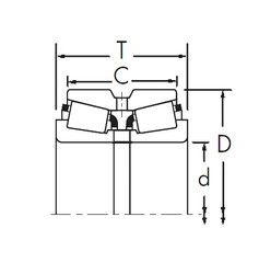
3490/3423D+X1S-3490 — Конический роликоподшипник, импортное производство по ISO стандарту, размер 38x82x66 номер основного исполнения .
Производитель: TIMKEN.
S3 = Кольца подшипника стабилизированы для рабочих температур до + 300 С
Цена от:819 р.
Цена на подшипник зависит от:
Габаритные размеры
Размеры и геометрические характеристики
Защита
Конструкция и исполнение